ID : 7541
MC_MoveRotateH
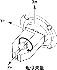
以近似矢量为轴进行相对旋转动作。
| 图形显示 | FB范畴 |
|---|---|
![]() |
动作 |
输入输出变量
| 变量名 | 数据型 | 有效范围 | 初始值 | 省略 |
|---|---|---|---|---|
| AxesGroup | eRC_AxesGroup | 不可以 | ||
|
||||
输入变量
| 变量名 | 数据型 | 有效范围 | 初始值 | 省略 |
|---|---|---|---|---|
| Execute | BOOL |
|
FALSE | 不可以 |
|
||||
| RotationAngle | REAL | -180~180 | 0 | 可以 |
|
||||
| ExtAxPosition | eRC_Joint | 可以 | ||
|
||||
| Velocity | REAL | 0.1~100.0 | -1 | 可以 |
|
||||
| Acceleration | REAL | 0.0001~100.0 | -1 | 可以 |
|
||||
| Deceleration | REAL | 0.0001~100.0 | -1 | 可以 |
|
||||
| BufferMode | INT | 0,1,6,7,8,9 | 0 | 可以 |
[ 0 : Aborting OP0(中断) ]
[ 1 : Buffered(保持) ]
[ 6 : Blending(混在) ]
[ 7 : Aborting OP1(中断) ]
[ 8 : Aborting OP2(中断) ]
[ 9 : Aborting OP3(中断) ]
|
||||
| TransitionMode | INT | 0,3,10,11 | 0 | 可以 |
|
||||
| TransitionParameter | INT | 0~32767 | -1 | 可以 |
|
||||
输出变量
| 变量名 | 数据型 / 说明 |
|---|---|
| Done | BOOL |
|
|
| NextActionPermit | BOOL |
|
|
| Busy | BOOL |
|
|
| Active | BOOL |
|
|
| CommandAborted | BOOL |
|
|
| Error | BOOL |
|
|
| ErrorID | WORD |
|
|
| ErrorIDEx | DWORD |
|
功能说明
以近似矢量为轴进行相对旋转动作。接近矢量的朝向可以根据工具坐标的定义自由改变。下图为示例。

注意事项
若要执行这个FB,需要事先将FB范畴"动作"的FB设为可执行状态。
若要将FB范畴"动作"的FB设为可执行状态,使用FB"MC_Power"。
ID : 7541


