ID : 3139
MC_MoveRotateH
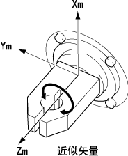
以近似矢量为轴进行相对旋转动作。
| 图形显示 | FB编号 | FB范畴 |
|---|---|---|
![]() |
FB2007 | 动作 |
输入参数
| 参数名 | 数据型 | 有效范围 | 初始值 | 省略 |
|---|---|---|---|---|
| AxesGroup | Int | 1以上 | 1 | 不可以 |
|
||||
| Execute | Bool |
|
False | 不可以 |
|
||||
| RotationAngle | Real | -180~180 | 0 | 可以 |
|
||||
| ExtAxPosition | eRC_Joint | 可以 | ||
|
||||
| Velocity | Real | 0.1~100.0 | -1 | 可以 |
|
||||
| Acceleration | Real | 0.0001~100.0 | -1 | 可以 |
|
||||
| Deceleration | Real | 0.0001~100.0 | -1 | 可以 |
|
||||
| BufferMode | Int | 0,1,6,7,8,9 | 0 | 可以 |
[ 0 : Aborting OP0(中断) ]
[ 1 : Buffered(保持) ]
[ 6 : Blending(混在) ]
[ 7 : Aborting OP1(中断) ]
[ 8 : Aborting OP2(中断) ]
[ 9 : Aborting OP3(中断) ]
|
||||
| TransitionMode | Int | 0,3,10,11 | 0 | 可以 |
|
||||
| TransitionParameter | Int | 0~32767 | -1 | 可以 |
|
||||
输出参数
| 参数名 | 数据型 / 说明 |
|---|---|
| Done | Bool |
|
|
| NextActionPermit | Bool |
|
|
| Busy | Bool |
|
|
| Active | Bool |
|
|
| CommandAborted | Bool |
|
|
| Error | Bool |
|
|
| ErrorID | Word |
|
|
| ErrorIDEx | DWord |
|
功能说明
以近似矢量为轴进行相对旋转动作。接近矢量的朝向可以根据工具坐标的定义自由改变。下图为示例。

注意事项
若要执行这个FB,需要事先将FB范畴"动作"的FB设为可执行状态。
若要将FB范畴"动作"的FB设为可执行状态,使用FB"MC_Power"。
ID : 3139


