ID : 7352
MC_MoveRotateH
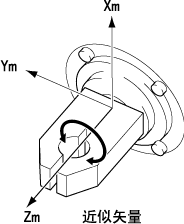
以近似矢量为轴进行相对旋转动作。
| 图形显示 | AOI范畴 |
|---|---|
![]() |
动作 |
输入输出变量
| 变量名 | 数据型 | 有效范围 | 输入输出条件 |
|---|---|---|---|
| AxesGroup | eRC_AxesGroup | - | |
|
|||
| ExtAxPosition | eRC_Joint | 输入用 | |
|
|||
输入变量
| 变量名 | 数据型 | 有效范围 |
|---|---|---|
| Execute | BOOL |
|
|
||
| RotationAngle | REAL | -180~180 |
|
||
| Velocity | REAL | 0.1~100.0 |
|
||
| Acceleration | REAL | 0.0001~100.0 |
|
||
| Deceleration | REAL | 0.0001~100.0 |
|
||
| BufferMode | INT | 0,1,6,7,8,9 |
0 : Aborting OP0(中断)
1 : Buffered(保持)
6 : Blending(混在)
7 : Aborting OP1(中断)
8 : Aborting OP2(中断)
9 : Aborting OP3(中断)
|
||
| TransitionMode | INT | 0,3,10,11 |
|
||
| TransitionParameter | INT | 0~32767 |
|
||
输出变量
| 变量名 | 数据型 / 说明 |
|---|---|
| Done | BOOL |
|
|
| NextActionPermit | BOOL |
|
|
| Busy | BOOL |
|
|
| Active | BOOL |
|
|
| CommandAborted | BOOL |
|
|
| Error | BOOL |
|
|
| ErrorID | INT |
|
|
| ErrorIDEx | DINT |
|
功能说明
以近似矢量为轴进行相对旋转动作。接近矢量的朝向可以根据工具坐标的定义自由改变。下图为示例。

注意事项
若要执行这个AOI,需要事先将AOI范畴"动作"的AOI设为可执行状态。
若要将AOI范畴"动作"的AOI设为可执行状态,使用AOI"MC_Power"。
ID : 7352


