ID : 10954
設計例(高速搬送装置)
下記の高速搬送装置を例に、以下の項目を説明します。
高速搬送装置

設計条件
-
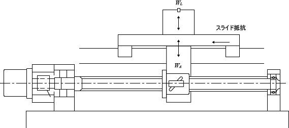
テーブル設計仕様
項目 記号 内容 備考 テーブル重量 
40kg 搬送物重量 
20kg (最大) 最大ストローク 
700mm 早送り速度 
1000mm/sec (60m/min) 位置決め精度 - ±0.10/700mm (0.01mm/パルス) 繰り返し精度 - ±0.010mm 要求寿命 
25000hr (5年) 摺動面(転がり) 
0.01 (摩擦係数) 駆動モータ - ACモータ (Nmax=3000rpm) -
運転条件

ID : 10954

