ID : 7692
工具坐标系的优点
就使用工具坐标系的优点进行说明。
手动操作时
手动操作时使用工具坐标系,则可将夹治具面向任意方向移动,便于教导。
与机械界面坐标系适用时的动作比较如下图所示。
| 机械界面坐标系(TOOL0) | 工具坐标系 | ||
|---|---|---|---|
| 按压X-时 | ![]() |
按压Z-时 | ![]() 可以进行将夹治具面向任意的方向移动的教导。 |
| 按压RX+时 | ![]() |
按压RZ+时 | ![]() 可以进行以夹治具为中心的旋转动作的教导。 |
程序运行时
使用APPROACH、DEPART指令的情况下
APPROACH指令与DEPART指令的动作方向是工具坐标的Z轴方向。Z轴的方向可以根据工具坐标的定义进行自由变化。下图为示例。
![]() TOOL0(机械界面坐标系) |
![]() 定义TOOL坐标,变更矢量的方向 |
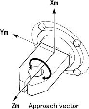
使用ROTATEH指令的情况下
ROTATEH指令,以工具坐标的Z轴作为旋转轴进行旋转动作。Z轴的方向可以根据工具坐标的定义进行自由变化。下图为示例。
TOOL0(机械界面坐标系) |
![]() 用TOOL定义变更矢量方向和偏移原点 |
ID : 7692








