ID : 10210
Hand I/O的配线
下面就Hand I/O的内容,分以下项目进行说明。
配线表
Hand I/O电缆有“标准”和“可动用”,端子编号和线色的组合不同。
Hand I/O 电缆 标准
Hand I/O电缆的标准端子编号和线色内容如下所示。
|
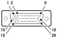
连接器的端子编号 (从连接器接合面看到的图) |
|
|---|
| 端子编号 | 名称 | 端口编号 | 配线双绞线 | 线色 | 标记(*1) |
|---|---|---|---|---|---|
| 1 | 夹治具输出 | 64 | 双绞线 | 橙 | 红1位 |
| 11 | 65 | 黑1位 | |||
| 20 | 66 | 双绞线 | 灰 | 黑1位 | |
| 2 | 67 | 红1位 | |||
| 12 | 68 | 双绞线 | 橙 | 红3位 | |
| 21 | 69 | 黑3位 | |||
| 3 | 70 | 双绞线 | 白 | 红1位 | |
| 13 | 71 | 黑1位 | |||
| 22 | 72 | 双绞线 | 黄 | 黑1位 | |
| 4 | 73 | 红1位 | |||
| 14 | 74 | 双绞线 | 灰 | 红3位 | |
| 23 | 75 | 黑3位 | |||
| 5 | 夹治具输入 | 48 | 双绞线 | 粉 | 红1位 |
| 15 | 49 | 黑1位 | |||
| 24 | 50 | 双绞线 | 橙 | 黑2位 | |
| 6 | 51 | 红2位 | |||
| 16 | 52 | 双绞线 | 白 | 红3位 | |
| 25 | 53 | 黑3位 | |||
| 7 | 54 | 双绞线 | 灰 | 红2位 | |
| 17 | 55 | 黑2位 | |||
| 26 | 56 | 双绞线 | 白 | 黑2位 | |
| 8 | 57 | 红2位 | |||
| 18 | 58 | 双绞线 | 黄 | 黑2位 | |
| 9 | 59 | 红2位 | |||
| 10 | 电源输出端子(+DC24V) | - | 双绞线 | 粉 | 红2位 |
| 19 | 电源输出端子(+DC0V) | - | 黑2位 |
*1 : 电缆标记的间距尺寸[mm]请参照以下内容。
- 标记1位

- 标记2位

- 标记3位

Hand I/O 电缆 可动用
Hand I/O电缆的可动用端子编号和线色内容如下所示。
| 连接器的端子编号 (从连接器接合面看到的图) |
|
|---|
| 端子编号 | 名称 | 端口编号 | 配线双绞线 | 线色 |
|---|---|---|---|---|
| 1 | 夹治具输出 | 64 | 双绞线 | 蓝 |
| 11 | 65 | 白 | ||
| 20 | 66 | 双绞线 | 棕 | |
| 2 | 67 | 黄 | ||
| 12 | 68 | 双绞线 | 蓝 | |
| 21 | 69 | 黑 | ||
| 3 | 70 | 双绞线 | 绿 | |
| 13 | 71 | 黑 | ||
| 22 | 72 | 双绞线 | 灰 | |
| 4 | 73 | 红 | ||
| 14 | 74 | 双绞线 | 黄 | |
| 23 | 75 | 灰 | ||
| 5 | 夹治具输入 | 48 | 双绞线 | 紫 |
| 15 | 49 | 橙 | ||
| 24 | 50 | 双绞线 | 棕 | |
| 6 | 51 | 蓝 | ||
| 16 | 52 | 双绞线 | 绿 | |
| 25 | 53 | 橙 | ||
| 7 | 54 | 双绞线 | 黄 | |
| 17 | 55 | 黑 | ||
| 26 | 56 | 双绞线 | 灰 | |
| 8 | 57 | 绿 | ||
| 18 | 58 | 双绞线 | 橙 | |
| 9 | 59 | 红 | ||
| 10 | 电源输出端子(+DC24V) | - | 双绞线 | 紫 |
| 19 | 电源输出端子(+DC0V) | - | 白 |
电路构成

ID : 10210


