ID : 18174
Hand I/Oの配線
ここでは、Hand I/Oの内容について、次の項目に分けて説明しています。
配線表
Hand I/Oケーブルは "標準" と "可動用" で端子番号と線色の組み合わせが異なります。
Hand I/Oケーブル 標準
Hand I/Oケーブル 標準の端子番号と線色の内容は以下の通りです。
|
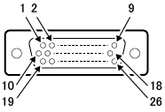
コネクタの端子番号 (コネクタ結合面から見た図) |
|
|---|
| 端子番号 | 名称 | ポート番号 | 配線ペア | 線色 | マーク(*1) |
|---|---|---|---|---|---|
| 1 | ハンド出力 | 64 | ペア | 橙 | 赤1点 |
| 11 | 65 | 黒1点 | |||
| 20 | 66 | ペア | 灰 | 黒1点 | |
| 2 | 67 | 赤1点 | |||
| 12 | 68 | ペア | 橙 | 赤3点 | |
| 21 | 69 | 黒3点 | |||
| 3 | 70 | ペア | 白 | 赤1点 | |
| 13 | 71 | 黒1点 | |||
| 22 | 72 | ペア | 黄 | 黒1点 | |
| 4 | 73 | 赤1点 | |||
| 14 | 74 | ペア | 灰 | 赤3点 | |
| 23 | 75 | 黒3点 | |||
| 5 | ハンド入力 | 48 | ペア | 桃 | 赤1点 |
| 15 | 49 | 黒1点 | |||
| 24 | 50 | ペア | 橙 | 黒2点 | |
| 6 | 51 | 赤2点 | |||
| 16 | 52 | ペア | 白 | 赤3点 | |
| 25 | 53 | 黒3点 | |||
| 7 | 54 | ペア | 灰 | 赤2点 | |
| 17 | 55 | 黒2点 | |||
| 26 | 56 | ペア | 白 | 黒2点 | |
| 8 | 57 | 赤2点 | |||
| 18 | 58 | ペア | 黄 | 黒2点 | |
| 9 | 59 | 赤2点 | |||
| 10 | 電源出力端子(+DC24V) | - | ペア | 桃 | 赤2点 |
| 19 | 電源出力端子(+DC0V) | - | 黒2点 |
*1 : ケーブルマークのピッチ寸法[mm]は下記を参照してください。
- マーク1点

- マーク2点

- マーク3点

Hand I/Oケーブル 可動用
Hand I/Oケーブル 可動用の端子番号と線色の内容は以下の通りです。
| コネクタの端子番号 (コネクタ結合面から見た図) |
|
|---|
| 端子番号 | 名称 | ポート番号 | 配線ペア | 線色 |
|---|---|---|---|---|
| 1 | ハンド出力 | 64 | ペア | 青 |
| 11 | 65 | 白 | ||
| 20 | 66 | ペア | 茶 | |
| 2 | 67 | 黄 | ||
| 12 | 68 | ペア | 青 | |
| 21 | 69 | 黒 | ||
| 3 | 70 | ペア | 緑 | |
| 13 | 71 | 黒 | ||
| 22 | 72 | ペア | 灰 | |
| 4 | 73 | 赤 | ||
| 14 | 74 | ペア | 黄 | |
| 23 | 75 | 灰 | ||
| 5 | ハンド入力 | 48 | ペア | 紫 |
| 15 | 49 | 橙 | ||
| 24 | 50 | ペア | 茶 | |
| 6 | 51 | 青 | ||
| 16 | 52 | ペア | 緑 | |
| 25 | 53 | 橙 | ||
| 7 | 54 | ペア | 黄 | |
| 17 | 55 | 黒 | ||
| 26 | 56 | ペア | 灰 | |
| 8 | 57 | 緑 | ||
| 18 | 58 | ペア | 橙 | |
| 9 | 59 | 赤 | ||
| 10 | 電源出力端子(+DC24V) | - | ペア | 紫 |
| 19 | 電源出力端子(+DC0V) | - | 白 |
回路構成

ID : 18174


