ID : 9008
RotateH
機能
アプローチベクトルを軸とした、回転動作をします。
構文
RotateH 回転角 [, 動作オプション]
指定項目
解説
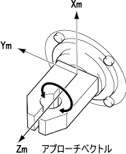
アプローチベクトルを軸とした、相対回転運動をします。アプローチベクトルの向きは、ツール座標の定義によって自由に変えることができます。下図に例を示します。
このステートメントを実行するには、タスクがロボット軸の制御権を取得しなければなりません。
TOOL0(メカニカルインタフェース座標系) |
TOOL定義でベクトル方向の変更と原点をオフセット |
関連項目
注意事項
-
用例
'!TITLE "アプローチベクトルを軸とした、回転動作"
' 動作命令後に、パス動作で動作し、相対回転角30度で回転
Sub Sample_RotateH
Dim aaa As Position
TakeArm Keep = 1
aaa = P( 400, 300, 400, 180, 0, 180, -1 )
' 現在位置からaaaの座標位置へ移動
Move P, aaa
' TOOL番号1を設定
ChangeTool 1
' パス動作で動き、相対回転角を30度回転
RotateH @P 30
' TOOL番号0を設定
ChangeTool 0
End Sub
ID : 9008



