ID : 3139
MC_MoveRotateH
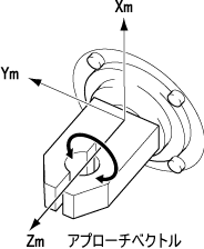
アプローチベクトルを軸とした、相対回転運動をします。
| グラフィック表示 | FB番号 | FBカテゴリ |
|---|---|---|
![]() |
FB2007 | 動作 |
入力パラメータ
| パラメータ名 | データ型 | 有効範囲 | 初期値 | 省略 |
|---|---|---|---|---|
| AxesGroup | Int | 1以上 | 1 | 不可 |
|
||||
| Execute | Bool |
|
False | 不可 |
|
||||
| RotationAngle | Real | -180 ~ 180 | 0 | 可能 |
|
||||
| ExtAxPosition | eRC_Joint | 可能 | ||
|
||||
| Velocity | Real | 0.1 ~ 100.0 | -1 | 可能 |
|
||||
| Acceleration | Real | 0.0001 ~ 100.0 | -1 | 可能 |
|
||||
| Deceleration | Real | 0.0001 ~ 100.0 | -1 | 可能 |
|
||||
| BufferMode | Int | 0,1,6,7,8,9 | 0 | 可能 |
[ 0 : Aborting OP0(中断) ]
[ 1 : Buffered(保持) ]
[ 6 : Blending(混在) ]
[ 7 : Aborting OP1(中断) ]
[ 8 : Aborting OP2(中断) ]
[ 9 : Aborting OP3(中断) ]
|
||||
| TransitionMode | Int | 0,3,10,11 | 0 | 可能 |
|
||||
| TransitionParameter | Int | 0 ~ 32767 | -1 | 可能 |
|
||||
出力パラメータ
| パラメータ名 | データ型 / 説明 |
|---|---|
| Done | Bool |
|
|
| NextActionPermit | Bool |
|
|
| Busy | Bool |
|
|
| Active | Bool |
|
|
| CommandAborted | Bool |
|
|
| Error | Bool |
|
|
| ErrorID | Word |
|
|
| ErrorIDEx | DWord |
|
機能説明
アプローチベクトルを軸とした、相対回転運動をします。アプローチベクトルの向きは、ツール座標の定義によって自由に変えることができます。下図に例を示します。

注意事項
このFBを実行するには、FBカテゴリ"動作"のFBを実行可能状態にしておく必要があります。
FBカテゴリ"動作"のFBを実行可能状態にするにはFB"MC_Power"を使用します。
ID : 3139


