ID : 1946
ツール座標系のメリット
ツール座標系を使うメリットについて説明します。
手動動作、ティーチング時
手動モードで動作させる場合、ツール座標系を使用すると、ハンド面を任意の方向へ動かすことが可能になり、ティーチングしやすくなります。
メカニカルインタフェース座標系適用時との動作の比較を下図に示します。
| メカニカルインタフェース座標系(TOOL0) | ツール座標系 | ||
|---|---|---|---|
| X- を押す場合 | ![]() |
Z- を押す場合 | ![]() ハンド面を任意の方向へ移動するティーチングが可能になる。 |
| RX+ を押す場合 | ![]() |
RZ+ を押す場合 | ![]() ハンドを中心とした回転動作のティーチングが可能になる。 |
プログラム動作時
APPROACH、DEPARTコマンドを使用する場合
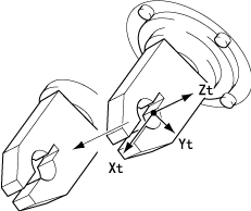
APPROACHコマンドとDEPARTコマンドの動作方向は、ツール座標のZ軸方向です。Z軸の向きは、ツール座標の定義によって自由に変えることができます。下図に例を示します。
![]() TOOL0(メカニカルインタフェース座標系) |
![]() TOOL座標を定義してベクトルの方向を変更 |
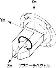
ROTATEHコマンドを使用する場合
ROTATEHコマンドは、ツール座標のZ軸を回転軸とする回転動作を行います。Z軸の向きは、ツール座標の定義によって自由に変えることができます。下図に例を示します。
TOOL0(メカニカルインタフェース座標系) |
![]() TOOL定義でベクトル方向の変更と原点をオフセット |
ID : 1946








