ID : 7727
MC_MoveRotateH
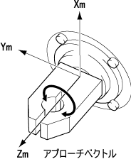
アプローチベクトルを軸とした、相対回転運動をします。
| グラフィック表示 | FBカテゴリ | |
|---|---|---|
| Ver.5.5 | Ver.5.35 | |
![]() |
![]() |
動作 |
入出力変数
| 変数名 | データ型 | 有効範囲 | 初期値 | 省略 |
|---|---|---|---|---|
| AxesGroup | eRC_AxesGroup | 不可 | ||
|
||||
入力変数
| 変数名 | データ型 | 有効範囲 | 初期値 | 省略 |
|---|---|---|---|---|
| Execute | BOOL |
|
FALSE | 不可 |
|
||||
| RotationAngle | REAL | -180 ~ 180 | 0 | 可能 |
|
||||
| ExtAxPosition | eRC_Joint |
|
可能 | |
|
||||
| Velocity | REAL | 0.1 ~ 100.0 | -1 | 可能 |
|
||||
| Acceleration | REAL | 0.0001 ~ 100.0 | -1 | 可能 |
|
||||
| Deceleration | REAL | 0.0001 ~ 100.0 | -1 | 可能 |
|
||||
| BufferMode | INT | 0,1,6,7,8,9 | 0 | 可能 |
|
||||
| TransitionMode | INT | 0,3,10,11 | 0 | 可能 |
|
||||
| TransitionParameter | INT | 0 ~ 32767 | -1 | 可能 |
|
||||
出力変数
| 変数名 | データ型 / 説明 |
|---|---|
| Done | BOOL |
|
|
| NextActionPermit | BOOL |
|
|
| Busy | BOOL |
|
|
| Active | BOOL |
|
|
| CommandAborted | BOOL |
|
|
| Error | BOOL |
|
|
| ErrorID | WORD |
|
|
| ErrorIDEx | DWORD |
|
機能説明
アプローチベクトルを軸とした、相対回転運動をします。アプローチベクトルの向きは、ツール座標の定義によって自由に変えることができます。下図に例を示します。

注意事項
このFBを実行するには、FBカテゴリ"動作"のFBを実行可能状態にしておく必要があります。
FBカテゴリ"動作"のFBを実行可能状態にするにはFB"MC_Power"を使用します。
ID : 7727



