ID : 7352
MC_MoveRotateH
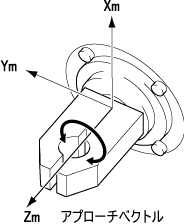
アプローチベクトルを軸とした、相対回転運動をします。
| グラフィック表示 | AOIカテゴリ |
|---|---|
![]() |
動作 |
入出力変数
| 変数名 | データ型 | 有効範囲 | 入出力条件 |
|---|---|---|---|
| AxesGroup | eRC_AxesGroup | - | |
|
|||
| ExtAxPosition | eRC_Joint | 入力用 | |
|
|||
入力変数
| 変数名 | データ型 | 有効範囲 |
|---|---|---|
| Execute | BOOL |
|
|
||
| RotationAngle | REAL | -180 ~ 180 |
|
||
| Velocity | REAL | 0.1 ~ 100.0 |
|
||
| Acceleration | REAL | 0.0001 ~ 100.0 |
|
||
| Deceleration | REAL | 0.0001 ~ 100.0 |
|
||
| BufferMode | INT | 0,1,6,7,8,9 |
0 : Aborting OP0(中断)
1 : Buffered(保持)
6 : Blending(混在)
7 : Aborting OP1(中断)
8 : Aborting OP2(中断)
9 : Aborting OP3(中断)
|
||
| TransitionMode | INT | 0,3,10,11 |
|
||
| TransitionParameter | INT | 0 ~ 32767 |
|
||
出力変数
| 変数名 | データ型 / 説明 |
|---|---|
| Done | BOOL |
|
|
| NextActionPermit | BOOL |
|
|
| Busy | BOOL |
|
|
| Active | BOOL |
|
|
| CommandAborted | BOOL |
|
|
| Error | BOOL |
|
|
| ErrorID | INT |
|
|
| ErrorIDEx | DINT |
|
機能説明
アプローチベクトルを軸とした、相対回転運動をします。アプローチベクトルの向きは、ツール座標の定義によって自由に変えることができます。下図に例を示します。

注意事項
このAOIを実行するには、AOIカテゴリ"動作"のAOIを実行可能状態にしておく必要があります。
AOIカテゴリ"動作"のAOIを実行可能状態にするにはAOI"MC_Power"を使用します。
ID : 7352


