ID : 5318
ロボット軸範囲の設定
MC8シリーズコントローラは最大8軸を制御できます。
接続されたモータ(軸)をロボット軸とするか、付加軸とするかを選択できます。
ロボット軸と指定できるのは第1軸から第4軸までの4軸で、本数は任意です。
ロボット軸とすることでCP動作(直線、円弧運動)などのロボットの動作命令などを使うことができます。
CP動作(直線、円弧運動)などのロボットの動作命令を使用するには第1軸~第4軸を決められた構成とする必要があります。
ロボット軸以外の軸は全て付加軸としての使用となります。
ロボット軸、付加軸の操作などは、「付加軸取扱説明書」を参照してください。
ロボット軸
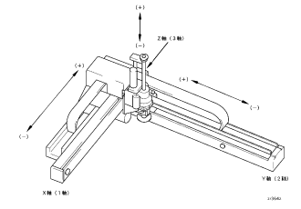
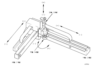
ロボット軸は軸数に応じて第1軸~第4軸を下図のような直角座標で構成することで、CP動作(直線、円弧動作)などのロボット命令が可能です。
| 1軸構成 | ![]() |
|---|---|
| 2軸構成 | ![]() |
| 3軸構成 | ![]() |
| 4軸構成 | ![]() |
CP動作(直線、円弧動作)が正しく動作するためには、軸構成と動作方向が上記の直角座標(右手系座標)構成と一致している必要があります。
軸の構成が上記構成と異なった状態でCP動作を行うと予測できない動作となり危険ですので、PTP動作にて動作させてください。
付加軸動作
付加軸動作は、下図のような1つの軸で構成され、PTP動作のみができます。付加軸に対しては、"Move命令"などは使用できません。"DriveA"、"Drive命令"を使用し、動作させます。

ID : 5318
- このページに関連する情報
- ロボット軸範囲の設定方法





