ID : 2922
ロボットハンド設計上の注意点
ロボットのハンドを設計するときは、以下の項目を満足するように設計してください。満足しない場合は、故障発生の原因になります。
ロボットハンド設計上の注意点を守らないと、ロボット本体の各締結部にゆるみ・ガタが発生し、位置ズレやロボットのメカ部品およびロボットコントローラの破損の原因になる恐れがあります。
ハンド質量
ハンド・ツール(ワークも含む)の総質量の最大値が、ロボットの最大可搬質量以下になるように設計してください。
配線・配管ステーなどをロボット本体に取り付けた場合、そのステーおよび配線・配管の質量も含めてハンド質量としてください。
| ハンド・ツール総質量最大値 ≦ 最大可搬質量 (ワーク重量を含む) (お客様設定の先端負荷質量の値) |
ハンド重心位置
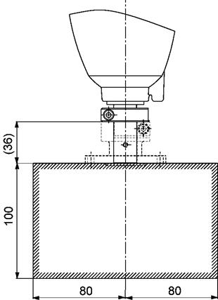
ハンド・ツール(ワークも含む)の重心位置が、HSA1シリーズは下図に示す範囲になるように設計してください。
![]() |
ロボットの速度・加速度は、シャフトの保護機能により重心位置をもとに自動的に設定されます。負荷重心位置、負荷重心イナーシャをあらかじめ設定してください。サイクルタイムを確認したい場合は、WINCAPSIIIをご利用ください。
T軸回り慣性モーメント
ハンド・ツール(ワークも含む)のT軸回り慣性モーメントが、ロボットのT軸最大許容慣性モーメント以下になるように設計してください。
| ハンド・ツールT軸回り慣性モーメント ≦ 最大許容慣性モーメント (ワーク重量を含む) |
ロボットの速度・加速度は、シャフトの保護機能により重心位置をもとに自動的に設定されます。負荷重心位置、負荷重心イナーシャをあらかじめ設定してください。サイクルタイムを確認したい場合は、WINCAPSIIIをご利用ください。
ID : 2922
- このページに関連する情報
- 慣性モーメント計算式


