ID : 2460
6ヶ月点検
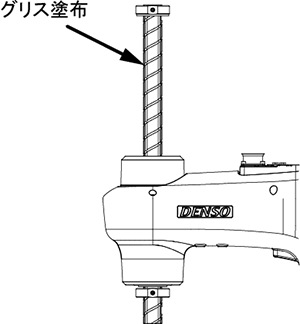
下図のようにZ軸シャフト全体にグリスを塗布してください。
Z軸シャフトを動かすときに、軸の落下、指の挟み込みに注意してください。
| No. | グリスの補給箇所 | グリス品番 | 補給量 | 備 考 |
|---|---|---|---|---|
| 1 | Z軸シャフト | 410971-036* | 1~2g | Z軸シャフト全体に塗布する。 |
| 2 | 410971-040* | 1~2g | Z軸シャフト全体に塗布する。 (H1グリスタイプ専用) |
|
|
|
||||
- 数回シャフトを動かし、上下端に溜まったグリスを拭き取ってください。
- ジャバラタイプ、防塵・防滴タイプ、クリーンタイプ、H1グリスタイプのグリス補給時には、床置き、天吊りで作業方法が異なります。
床置き ジャバラ固定バンドを外し、下側ジャバラを押し下げる必要があります。

天吊り ジャバラ固定バンドを外し、上側ジャバラを押し上げる必要があります。

グリス取り扱い時の注意事項
- 目に入った場合は、清浄水で15分間洗浄し、医師の手当を受けてください。
- 皮膚に付着した場合は、よく拭き取った後、水とせっけんで十分洗浄してください。
- 吸入した場合は、新鮮な空気の場所に移し、身体を毛布等でおおい、保温して安静を保ち、直ちに医師の手当を受けてください。
- 飲み込んだ場合は、無理に吐かせないで、速やかに医師の手当を受けてください。口の中が汚染されている場合には、水で充分洗ってください。
ID : 2460


