ID : 2388
ロボットハンド設計上の注意点 (LPH)
ロボットのハンドを設計するときは、以下の項目を満足するように設計してください。満足しない場合は、故障発生の原因になります。
ロボットハンド設計上の注意点を守らないと、ロボット本体の各締結部にゆるみ・ガタが発生し、位置ズレやロボットのメカ部品およびロボットコントローラの破損の原因になる恐れがあります。
ハンド質量
ハンド・ツール (ワークも含む) の総質量の最大値が、ロボットの最大可搬質量以下になるように設計してください。
配線・配管ステーなどをロボット本体に取り付けた場合、そのステーおよび配線・配管の質量も含めてハンド質量としてください。
| ハンド・ツール総質量最大値 ≤ 最大可搬質量 |
ハンド・ツール総質量最大値はお客様設定の先端負荷質量の値です。ワーク重量も含みます。
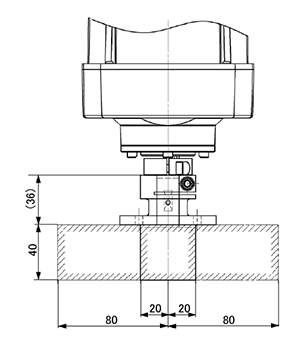
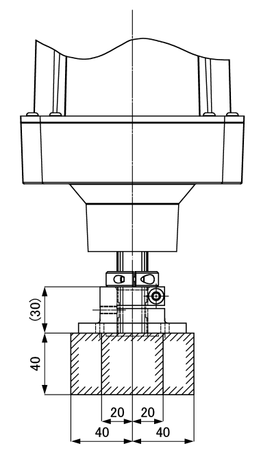
ハンド重心位置
ハンド・ツール (ワークも含む) の重心位置が、下図に示す範囲になるように設計してください。
| LPH-040A1の場合 | LPH-060A1、LPH-070A1の場合 |
|---|---|
![]() |
![]() |
オフセット量
ハンド・ツール (ワークも含む) のオフセット量が、ロボットの最大オフセット量以下になるように設計してください。
| ハンド・ツールのオフセット量 ≤ 最大許容オフセット量 (下図のグラフ参照) |
LPH-040A1の場合
< 適用例 >
|
![]() |
LPH-060A1、LPH-070A1の場合
< 適用例 >
|
![]() |
T軸回り慣性モーメント
ハンド・ツール (ワークも含む) のT軸回り慣性モーメントが、ロボットのT軸最大許容慣性モーメント以下になるように設計してください。
| ハンド・ツールT軸回り慣性モーメント ≤ 最大許容慣性モーメント (ワーク重量を含む) |
| 型式 (モデル) | 最大許容慣性モーメント |
|---|---|
| LPH-040A1 | 0.075kgm2 |
| LPH-060A1 | 0.023kgm2 |
| LPH-070A1 |
ただし、LPH-040A1の場合は最大許容慣性モーメント以下でも、ハンド・ツールT軸回り慣性モーメントの値によっては速度・加速度を制限する必要があります。
ハンド・ツールT軸回り慣性モーメントの値に対する速度・加速度の制限値については、下図のグラフから求めてください。
速度・加速度はともに個別に設定ができますが、個別に設定しない場合は速度を設定すると次式のように加速度が設定されます。
加速度 (%) = (速度 (%) /100) 2×100
個別で速度・加速度を設定する場合は、下図の範囲で設定してください。
< 適用例 >
|
![]() |
ID : 2388
- このページに関連する情報
- 慣性モーメント計算式






